wordpress后台地址安全设置指南:防止未授权访问
默认的WordPress后台地址(域名/wp-admin 或 域名/wp-login.php)容易遭受攻击。本文将指导您如何通过修改代码文件来更改WordPress后台登录地址,增强网站安全性。(以下步骤基于宝塔面板,其他面板操作类似)
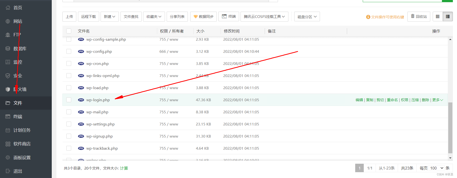
第一步:重命名并修改wp-login.php文件


第二步:修改general-template.php文件
打开WordPress目录下的wp-includes文件夹,找到general-template.php文件。使用代码编辑器将文件中所有出现的“wp-login”替换为“admin”。



云优YUNUCMS企业网站管理系统三网合一,跨平台兼容,让企业快速、高效的展示在广大客户面前,为企业带来更多潜在客户,提升企业曝光率和品牌影响力。 云优YUNUCMS企业网站管理系统 1.1.2 更新日志:2018-08-02 [新增]表单邮件提醒增加携带变量; [新增]htm和txt格式站点地图文件,每次登录后台自动生成; [新增]数据统计主菜单; [新增]集成平台主词排名监控;
829
第三步:修改登录URL跳转
在general-template.php文件中,找到$login_url变量。修改site_url函数的第一个参数为'index.php'(或您选择的其他文件名),如下所示:
$login_url = site_url( 'index.php', 'login' );

此步骤确保当用户尝试访问默认的wp-admin地址或其他已知的后台地址时,会跳转到您设置的地址,进一步提高安全性。
完成以上步骤后,您的WordPress后台登录地址将更改为https://www.php.cn/link/792d6bb3fdf2afce6a0911b0820d5ada。 请务必备份您的文件,以防万一修改出错。 建议您在修改代码前,仔细阅读并理解每一步的操作,如有疑问,请咨询专业人士。
以上就是WordPress网站更改后台登录地址图文教程的详细内容,更多请关注php中文网其它相关文章!
每个人都需要一台速度更快、更稳定的 PC。随着时间的推移,垃圾文件、旧注册表数据和不必要的后台进程会占用资源并降低性能。幸运的是,许多工具可以让 Windows 保持平稳运行。
Copyright 2014-2025 https://www.php.cn/ All Rights Reserved | php.cn | 湘ICP备2023035733号